תאורת חוץ- האם חייבים להתקין מא"ז עבור גוף תאורת חוץ / דיעה

תאורת חוץ

אני  חייב להזכיר, שאני כותב בלא חומר לימדה או הנחיות,אני  כותב רעיונות ולכן גם כך נקרא מדור שלי . לכן, שאלות או הערות שאינן על פי תקן או אין  את הספק בארץ, הן אינן רלוונטיות

חבר שלי, שהוא מתכנן ומורה פנה אלי עם השאלה: האם חייבים להתקין מא"ז עבור גוף תאורת חוץ, בדגש שהיום כל גוף הוא לד

פרסום

לכן, דעתי, בלבד, בעניין

 

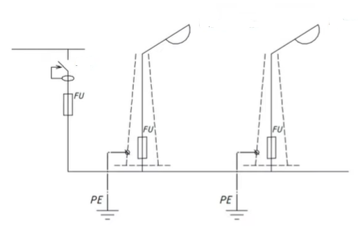
תאורת חוץ על עמודי חשמל מוזנים או על ידי רשת ת.א.מ או כבלים תת"ק

משתמשים בגופי תאורת לד בשני סוגים – CLASS1  CLASS2  .

מה הבדל. גוף ציוד class 1, חייב להיות מאורק, בעזרת מוליך PE.

גוף CLASS 2   יש לו בידוד כפול ולא נדרש להאריק

בתקנים וגם בהנחיות עבור תאורת חוץ קודם, שהשתמשנו סוגי נורה כמו נורות פריקה – כספית, נלג, מטל הלייד… היה חובה להתקין מא"ז להגנה

לפי דעתנו, הנכון עבור כל תאורת החוץ, הרחוב או תאורת החצר הפרטי להשתמש נתיך שהותקן על  גיד פאזה וגוף התאורה מחובר להארקה

עבור גופי תאורה class 2  דומה, חוץ לחיבור הארקה

אני מדגיש שלפי שיקול דעתי יש צורך בהגנה לכל גוף תאורה (כל עמוד תאורה)

  • זה יבטיח לנו סלקטיביות ההגנה. יש להדגיש, (שוב, לפי דעתי קשה למצוא הגנה שיתעבוד בקצר ולא תעבוד בזרמי התנעה הגדולים
  • התקנת מא"ז עבור כל גוף תאורה לא משתלם כלכלית וקשה מבחינה טכנית

כנראה, כאן נשאלת שאלה: למה צריך הגנה עבור כל עמוד או כל גוף תאורה? כאמור, סלקטיביות הגנות. יכבה גוף אחד או  את כל הרחוב,

יש הבדל. הפעולה הטכנית פשוטה יותר. גם הרבה יותר קל לזהות גוף תאורה פגום

פרסום

אם הזנה חשמל תת"ק, בעצם אותו דבר

MASTAQ

 

 

 

 

תודה שאתם מבקרים בפורטל חשמלנט. חשמלנט היינו פורטל מקצועי ומקיף לתחום החשמל והתאורה .בחשמלנט תוכלו למצוא אינפורמציה מקצועית שחשובה לכם ומאגר ספקים גדול מתחום החשמל והתאורה

כתיבת תגובה

האימייל לא יוצג באתר. שדות החובה מסומנים *

אתר זו עושה שימוש ב-Akismet כדי לסנן תגובות זבל. פרטים נוספים אודות איך המידע מהתגובה שלך יעובד.

כתבות נוספות

פס הארקה בקרקע: יש להניח אנכית (על הקצה)

23 באפריל 2026

מהפכת הוויזואליזציה: מניעת שריפות וכשלים באמצעות כבלים "חכמים" רגישים לחום

19 באפריל 2026

איך הופכים את הסקרנות של הילדים להגנה מפני חשמל?

19 באפריל 2026

פתרונות רגולטוריים וטכניים להתנגדות קרקע גבוהה

13 באפריל 2026

פטינה: שכבת הגנה טבעית לאלקטרודות הארקה שאינה דורשת ניקוי

12 באפריל 2026

מחזיק מהדק רשת

12 באפריל 2026

פס הארקה בקרקע: יש להניח אנכית (על הקצה)

23 באפריל 2026

מהפכת הוויזואליזציה: מניעת שריפות וכשלים באמצעות כבלים "חכמים" רגישים לחום

19 באפריל 2026

איך הופכים את הסקרנות של הילדים להגנה מפני חשמל?

19 באפריל 2026

פתרונות רגולטוריים וטכניים להתנגדות קרקע גבוהה

13 באפריל 2026

שלום לך 👋
נעים להכיר.

הירשמו לקבלת תוכן מדהים לתיבת הדואר הנכנס, כל חודש.